知行之云LIP系统
知行之云LIP系统提供EDI SaaS解决方案,无需购买软硬件,为用户提供无需IT运维、随用随停的EDI云服务。通过网络直接访问,不需要复杂的安装流程,用户只需完成注册和基础配置,即可快速上线使用。
用户对接不同的交易伙伴,可能会遇到不同的EDI需求,这时就需要做个性化定制。本文将以汽车行业中最为常见的EDI需求为例,为大家详细介绍知行之云LIP系统的操作步骤。
注册与登录
我们会为用户创建一个LIP账户,包含用户名、密码以及登录地址,以邮件的形式发送到用户的邮箱中。
访问登录地址,用户将看到如下登录页面:

在此界面中输入用户名以及密码即可登录。
EDI文档处理
本实例中,涵盖了汽车行业使用频率最高的几种报文:长期预测、短期预测以及提前发货通知,接下来将为大家介绍各个报文的操作步骤。
长期预测
长期预测通常由采购商发给供应商,是一种阶段性、可滚动的需求计划。一般用于发布一年或者较长期的预测计划。供应商可以据此提前准备产能和原材料,但是实际的发货需要根据短期预测中的物料、数量信息进行交付。
首先需要查看长期预测信息,当收到来自交易伙伴的一条新增的长期预测时,下图红色方框位置,右上角将会出现红色的提醒,如果是数字1,表示新增1条长期预测;如果是数字2则表示新增2条长期预测。

可以在预览列中快速预览此长期预测的信息,这里展示的列支持自定义,点击右上角的 定制列 按钮即可选择希望展示的信息。

点击此长期预测的买方物料编号,也就是图示的 123ABC99,即可查看此长期预测的详情:

可以看到上图右侧展示了工作流,显示了报文的处理流程,通常情况下,用户接收长期预测之后,可以根据长期预测内容提前备货,主要传输周期性要货预测需求。
短期预测
短期预测用于描述短期交付信息和实时调度要求,通常由采购商发给供应商,以通知供应商即时交货需求,较短周期内(一周或者一天)就会更新。短期预测是短期、实时的交付指令,供应商实际的发货以及ASN(提前发货通知)报文也需要基于此单据进行创建、发送。
当收到来自交易伙伴的短期预测时,在知行之云LIP系统中将会呈现在如上图所示的页面中。点击 买方物料编号 即可查看当前短期预测的详情。

在当前短期预测页面右上角点击 回复 按钮,选择 提前发货通知。可以选择快速添加(只编辑必须的字段)也可以选择 完整表单(编辑所有字段),用户可以根据请求发货日期选择需要回复发货通知的短期预测。

如果选择 快速添加,则将会进入如下页面:

此时右上角的提前发货通知状态为 +,表示这是一条新的提前发货通知。用户需要根据实际业务情况,结合收到的短期预测信息回复提前发货通知。信息填写完成后,点击右上角 保存 按钮。注意:红色星号表示必填值。
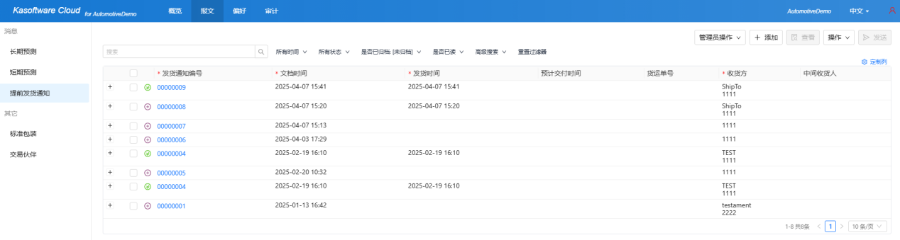
提前发货通知
供应商在发货之前需要创建提前发货通知报文,并尽可能填写已知的数据。供应商此时在提前发货通知报文中可以进行相应Label的下载,打印并贴于托盘或箱子上。
供应商在实际发货后根据货运公司提供的数据(如提单号)来补充完整提前发货通知的所有必填字段,并将提前发货通知报文进行发送。客人收到报文后会根据其中的信息来进行收货。
发送一条ASN提前发货通知的具体流程如下:
1.在短期预测页面,根据收到的短期预测信息,回复 提前发货通知,补充提前发货通知的基本信息和明细部分数据。

2.在 提前发货通知 详情页旁边的 包装 页面中填写包装信息

点击 添加包装 按钮,选择包装类型,可选包装类型有:
- Pack(箱子)
- Pallet+Pack(托盘+箱子)
- Empty Pallet(空托盘)
- Empty Pack(空箱子)
以包装类型为Pallet+Pack(托盘+箱子)为例,在如下页面中添加包装信息:

选择托盘数量为1,每托盘箱子数量为6,每箱物料数量为100,则此时当前打包数量为600,点击确认之后,即可在包装页面中看到我们创建好的1个托盘与6个箱子:

3.打印标签
接下来回到提前发货通知的 详情 页面,点击界面右上角的 打印标签 按钮,即可打印标签。

托盘标签示例如下:

箱子标签示例如下:

根据我们添加的打包信息,这里将会得到1个托盘标签和6个箱子标签。
4.发货并完善提前发货通知信息
得到标签后,即可打印发货。发货后货代将会提供发货提单号信息给我们,需要将提单号补充进 提前发货通知 的基本信息中:

5.发送ASN提前发货通知
完成上述步骤之后,用户需要仔细核对基本信息以及明细信息,无误后即可向交易伙伴回复ASN提前发货通知:
点击 提前发货通知 页面右上角的 发送 按钮,即可将发货通知直接发给交易伙伴。注意:红色星号标记的内容在提前发货通知报文中属于必填值。

如上所示,发货通知编号为00000009的这条数据已发送给交易伙伴。
如何上传、下载EDI文档
知行之云LIP系统支持以下三种方式来将报文导出为CSV格式:
1.在长期预测/短期预测列表中,直接点击右上角 操作 菜单中最下方的选项,即可导出当前列表中的全部单据信息,如下所示,长期预测界面中有两条预测信息,此时点击右上角的 操作 选项,则会看到 导出2项搜索结果 的按钮。

2.在长期预测/短期预测列表中,勾选需要导出的单据,点击右上角操作菜单中的导出

3.在长期预测/短期预测的详情页中,点击右上角操作菜单中的 导出

以长期预测为例,用户可以点击右上角的 打印 按钮,打印当前长期预测信息。

也可以在操作按钮下选择删除、复制以及导出单据内容。

从知行之云LIP系统中导出数据,数据格式为CSV。
文档追踪
在知行之云中,可以在单据界面右侧的工作流中查看文件的处理流程,按照 短期预测以及提前发货通知的顺序,完成整个数据传输流程。

状态含义
新: 新创建未发送的报文
发送中:报文已加入到发送队列中
已接收:从交易伙伴处接收到
已发送:已将EDI报文成功发送给交易伙伴
发送失败:发送给交易伙伴的过程中出错,需要改正错误后重新发送
确认已收到:交易伙伴发送回执来确认收到EDI报文
交易记录概览
知行之云LIP系统中各个单据的处理状态都会被呈现在概览页面中,用户可以根据需要,选择不同的显示周期:

新报文邮件通知
用户可以在 偏好>高级设置中配置新报文邮件通知,及时提醒用户收到新报文,可以在此配置新报文邮件通知间隔为:1分钟、10分钟、1小时、2小时等不同时间。

此外用户还可以在这个页面中配置交易伙伴时区,接收和发送报文时,如果交易伙伴报文中未提供时区信息,程序将依赖此时区来进行转换。如果未设置,则使用默认时区Etc/UTC。
安全信息:配置动态口令
步骤:在 偏好>高级设置中,找到安全信息,在这里按照界面提示绑定动态口令:

首先需要重新输入当前密码验证身份,接下来进行绑定动态口令的操作,选择下载认证器APP,接下来通过扫码或者拷贝二次认证的Key,并在移动端认证器中输入来绑定。

维护基本信息
交易伙伴管理
在知行之云LIP系统上添加和管理交易伙伴信息,可以在 报文 选项卡下,找到左侧列表中的交易伙伴:

点击以上界面右上角的 添加,即可录入交易伙伴的基本信息。
文件传输配置
考虑到大多数汽车行业客户的实际需求,本次为大家介绍的汽车行业EDI SaaS解决方案中,选择的通信协议为OFTP2。实际使用过程中,EDI传输通道的搭建,如配置所需的密钥或证书,以及启用文件加密、签名等安全措施将会由我们的开发人员在系统后台进行配置和测试,用户无需对此进行操作。
希望通过上述介绍,用户能够全面理解并快速掌握知行之云EDI SaaS解决方案的操作。
如果您希望了解有关EDI对接的相关信息,获取知行之云LIP系统的试用,请通过下方邮件联系我们。
注:文案部分图片及内容来源于网络,版权归原创作者所有,如有侵犯到您的权益,请您联系我们进行删除,给您带来困扰,我们深感抱歉。

AS2 认证信息
OFTP 证书
SAP 证书
知行之桥®
